أخبارنا المغربية
تُشير تسريبات حديثة إلى أن "آي فون 8" الذي ستعلن عنه أبل في سبتمبر (أيلول) 2017 من المتوقع أن يأتي بتصميم مختلف تماماً عن الإصدارات الحالية والسابقة، إذ تدرس أبل حالياً فكرة دمج مستشعر بصمة الإصبع داخل الشاشة، في خطوة جديدة وجدية للتخلي عن مفتاح الشاشة الرئيسية، لزيادة مساحة الشاشة، بالإضافة إلى تقليص مساحة الحواف الجانبية.
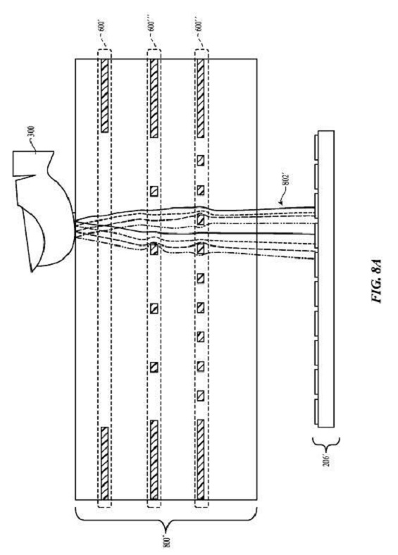
وتصف براءة الاختراع الجديدة التي تقدمت بها أبل في سبتبمر (أيلول) 2014، وحصلت عليها في أكتوبر (تشرين الأول) 2016 من مكتب براءات الاختراعات الأمريكية، كيف يمكن دمج بصمة الإصبع داخل الشاشة من أجل إلغاء مفتاح الشاشة الرئيسية.
ومن التوقعات الأخرى للهاتف المقبل أن يأتي بهيكل زجاجي متكامل، بشاشة من نوع أوليد ، وبحسب موقع "سوفتبيديا"، فإنه من المحتمل أن تضيف أبل ألواناً جديدة بخلاف المتوفرة حالياً، بالإضافة إلى ميزة مقاومة المياه بشكل كامل، والشحن اللاسلكي.

